电液式压力试验机(YA-2000B)解析:
1、 试验机结构
该试验机主机(图1)采用整体框架结构形式,其上装有工作油缸、活塞、上下压板等。
该试验机驱动方式为人工控制液压加荷,采用油压传感器测力、数码显示。整个系统合于一体、结构紧凑、安装简易、使用方便。
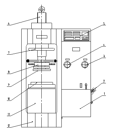
1: YA-2000B整机示意图
图中:1—液压源 2—注油孔 3—送油阀 4—回油阀 5—电测仪表 6—调节丝杠副 7—调节手轮 8—调心球头副 9—上压板 10—下压板 11—油缸活塞副 12—机架
试验空间为手动调整(C型为电动调整),在丝杠和螺母之间设有间隙消除机构(图2),采用主、副两个丝母加弹簧调整,用以消除丝杠丝母之间的串动量。
图中:1—丝杠 2—承载梁 3—丝母 4—间隙消除机构
图2:空间调整结构图
上压板装有球头副结构(图3),起到自动调心作用,确保试验力能够比较均匀地作用在试样的承压面上。
图3:球头副
图中:1—上压板 2—连接套 3—手柄 4—锁紧螺母 5—球座
上一篇:暂无上一篇
下一篇:电液式压力试验机
网站首页
公司简介
产品中心
配件中心
成功案例
测试方案































